Kitmas - оборудование для литейного и металлургического производства в Украине
 
  • Главная
  • Новости
  • Продукты
      • Керамическая литниковая система
          • Заливочные воронки
          • Трубки прямые и угловые
          • Шлакоуловители
          • Трубки с сужением и расширением
          • Колена
          • Распределители
          • Питатели
      • Элементы стопорной системы
          • Керамические стопорные трубки
          • Графитовые пробки
          • Стаканы
          • Графитовые стаканы и моноблочные трубки
          • Гнездовой кирпич
      • ОГНЕУПОРНЫЕ ИЗДЕЛИЯ ДЛЯ ЛИТЬЯ СЛИТКОВ
          • Воронки
          • Трубки
          • Звездочки
          • ТРУБКИ СИФОННЫЕ ПРОЛЕТНЫЕ
          • ТРУБКИ СИФОННЫЕ КОНЦЕВЫЕ
      • Высокотемпературные изоляционные материалы
          • Огнеупорное одеяло /мат/
          • Изделия из огнеупорного волокна Superwool® XTRA™
              • Огнеупорная бумага на базе волокна Superwool® XTRA
              • Огнеупорные плиты на базе волокна Superwool® XTRA
              • Модульные системы на базе волокна Superwool® XTRA
          • Огнеупорная плита
          • Высокотемпературное изоляционное волокно
          • Огнеупорные модульные блоки Pyro-Bloc
          • Огнеупорное полотно Pyro-Log
          • Огнеупорные модульные блоки на основе одеял /матов/
          • Огнеупорные изоляционные мастики и мертель
          • Огнеупорная теплоизоляционная бумага
          • Огнеупорный фетр
          • Огнеупорные текстильные изделия
  • Партнеры
      • SEEIF Ceramic
      • Morgan Thermal Ceramics
  • О компании
  • Контакты
  • Search (4)
  • Главная / 
  • Продукты / 
  • ОГНЕУПОРНЫЕ ИЗДЕЛИЯ ДЛЯ ЛИТЬЯ СЛИТКОВ

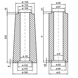
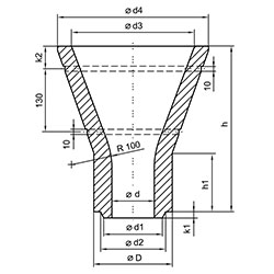
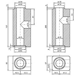
Огнеупорные изделия для литья слитков производства SEEIF Ceramics

voronki trubki zvezdochki sifon prolet sifon konc
Воронки Трубки Звездочки Трубки сифонные пролетные Трубки сифонные концевые

logok

    03035, г. Киев ул. Кудряшова 7, офис 13
    +38 067 466 51 19,  +38 063 466 51 19
    kitmaspro@gmail.com