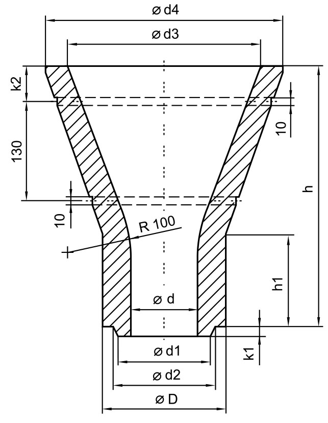
Воронки

 

slitki 1

Тип

d (mm)

d1 (mm)

d2 (mm)

d3 (mm)

d4 mm)

D (mm)

h (mm)

k1 (mm)

k2 (mm)

k3 (mm)

TTR1B

65

88

97

160

200

120

250

150

10

180

TA29

75

100

110

230

280

150

275

175

12

175

LMR231

80

105

110

280

350

150

398

298

22

290

N4

90

120

122

198

230

150

300

160

18

160

IMB-U

90

112

123

270

320

180

385

325

26

325

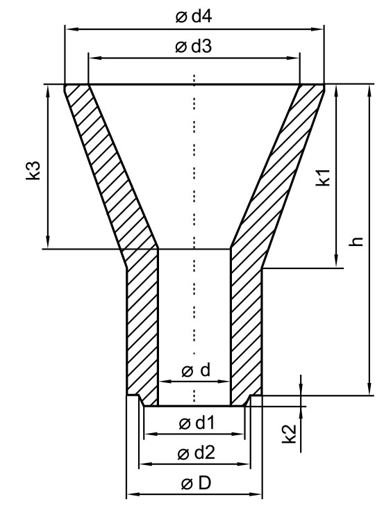
slitki 2

Тип

d (mm)

d1 (mm)

d2 (mm)

d3 (mm)

d4 (mm)

D (mm)

h (mm)

k1 (mm)

k2 (mm)

k3 (mm)

TH3120

65

90

102

188

227

120

268

170

8

170

TH3120V

65

90

102

188

227

120

328

170

22

170

N4B

90

124

126

198

230

150

300

160

15

160

EMBUDO N8

90

116

120

210

270

150

350

300

15

300

slitki 3

Тип

d (mm)

d1 (mm)

d2 (mm)

d3 (mm)

d4 (mm)

D (mm)

h (mm)

h1 (mm)

k1 (mm)

k2 (mm)

B12

85

103

116

240

280

135

295

60

12

40

B22

100

140

150

300

365

180

380

140

20

50

slitki 4

slitki 5